据安徽阜阳广播电视台9月25日报道:当天12时19分,安徽一落马官员受贿的翡翠手镯被人以355201元的最高价竞得,这场拍卖经历了125次竞价、68次延时,延时两个多小时才结束,拍卖热度可谓炙热。

9月16日,固镇县人民法院对该院依法没收的11件涉案翡翠玉器进行1元起拍的消息,引起关注。其中1只评估价为10万元的翡翠手镯,吸引了近4万人围观,2472人设置竞拍提醒,150人报名参拍。
这只翡翠手镯的竞买热度可谓炙热。9月24日上午10时正式开拍后,50分钟后,该翡翠手镯的拍卖价已达到18万多元。
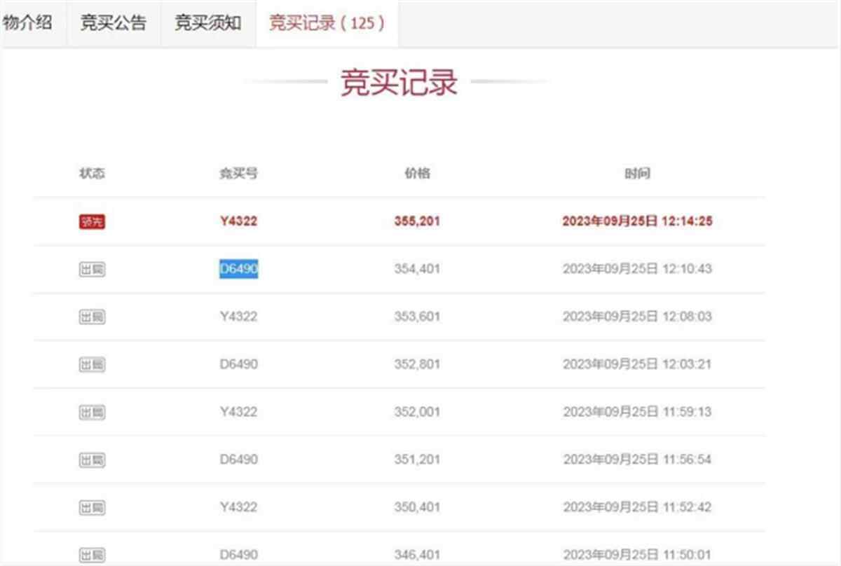
9月25日10时是原定的拍卖结束时间,因为竞买者继续加价,所以该场拍卖一直延时到2小时19分钟后,竞买号为Y4322的竞买者以355201元的最高价,竞得这只翡翠手镯。

业内人士:该手镯的真实价值,可能远高于评估价
记者发现,在2个多小时的延时竞拍,是竞买号Y4322和竞买号为D6490的两位竞买者互不相让、你争我抢。
安徽省某大型珠宝商行负责人分析称,这两位竞买者应该是懂玉器的行家,可能是提前看到实物,并做足了竞买功课,两位竞买者能出这么高价格竞买单只“赃物手镯”,可能说明这只手镯的真实价值可能远高于评估价。
他分析说,目前市场上,一副珍稀翡翠手镯能卖到百十万元,竞买者花重金购买单只的“赃物手镯”,很可能会再次对外销售,但也不排除竞买者会个人收藏。
固镇县人民法院本次上拍的11件涉案翡翠玉器已经全部被拍卖成交,有的溢价成交、有的折价成交。
溢价最高的就是这只翡翠手镯,成交价是起拍价的35.5万倍,比评估价溢价25.5万元。

律师:“溢价”成交,不影响认定受贿金额
广东华商(合肥)律师事务所汪家宽律师认为,根据《最高人民法院关于刑事裁判涉财产部分执行的若干规定》《最高人民法院关于人民法院网络司法拍卖若干问题的规定》等相关法规:“刑事涉案财物网络拍卖不限制竞买人数量,以拍定为原则,实行一元起拍、价高者得的竞价规则。”
因此无论是珠宝、房产、汽车等财物,在涉及刑事案件需要将其财物执行法拍的,起拍价都可以定为1元。
汪律师表示,法院认定受贿金额是根据“赃物”评估价或者行贿人购买价来进行综合认定。“赃物”经司法拍卖后,大多是折价成交;本次司法拍卖中出现“赃物”大幅溢价的情况,是比较少见的,但拍卖成交价高低是与竞买者参与热度有关,拍卖物“溢价”成交,不影响认定按照接受物品时物品的价格计算受贿金额。
来源 | 极目新闻综合大皖新闻、阜阳广播电视台
责编 | 杨楚滢