新年伊始,日本本州西岸近海连发地震。日本气象厅表示,自1日以来,日本已发生155次地震,其中包括一次7.6级地震和另一次6级以上地震。
就在4天前,也就是2023年的12月28日,千岛群岛附近刚发生过6.8级地震。如果往前看一个月,全球共发生14次6级以上地震,去年全年发生6级地震约129次,不禁让人有些恐慌:地球又进入活跃期了?

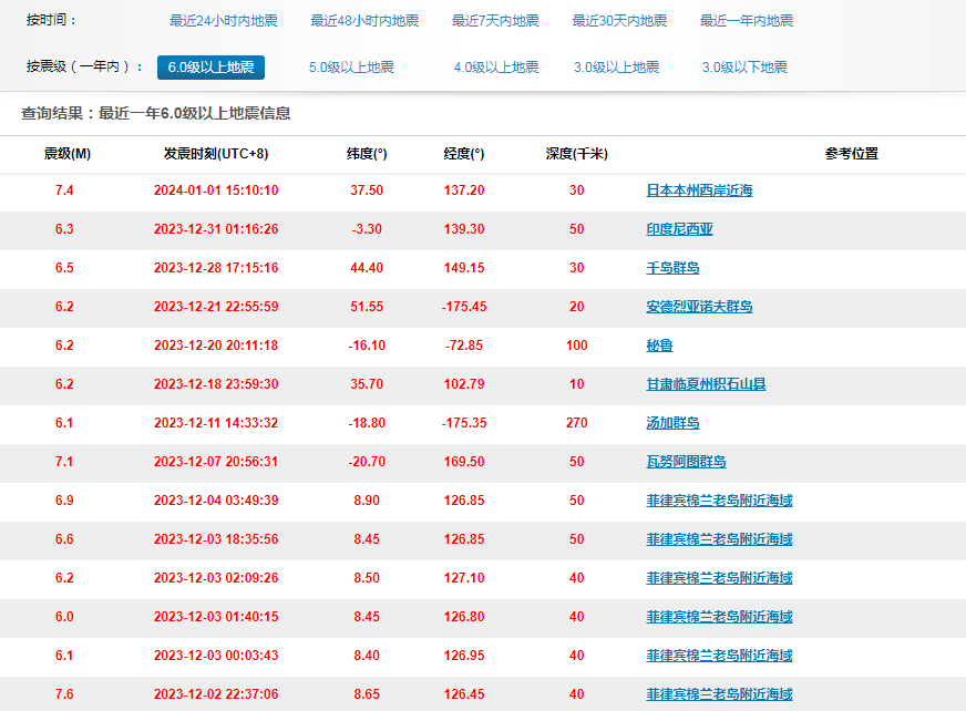
记者从中国地震台网查询到,2013年12月2日至2024年1月1日,全球记录到14次6级以上地震。值得注意的是,这些6级以上地震主要发生在太平洋板块和亚欧板块交界地带,其中菲律宾棉兰老岛附近海域在12月2日到4日,三天内发生6级以上地震6次,震级最高的是12月2日的7.6级地震。
从地质区域上来说,这些地方离我国距离都很近。而我国甘肃、新疆也分别在去年12月18日、19日接连发生6.2级和5.5级地震。当时就有网友表示:感觉上今年地震发生了多次,是否地壳活动进入了较为活跃的一年?

当时有媒体采访专家称,目前地壳活动的确处在相对活跃期,中、强震频度相对高些,主要表现为板块边界大震、强震活跃。据介绍,大、强震如印度洋板块与太平洋板块边界上的印尼强震等,而这两年我国发生的多次中强震则属于板内中强震。
不过,从数量上来看,也有专家称,全球每年平均发生18次7级以上地震、141次6级以上地震,2023年的地震频次整体与往年相比没有明显增幅。
从中国地震台网查询可以得知,2023年全球7级以上地震一共发生19次,也就是说地球地震活动仍属于正常范围。
但日本的“新年第一震”着实让人心有余悸,截至2日上午9时,强震已致8人死亡,而日本气象厅提醒,未来一周内,特别是未来两三天内,仍有再次发生震度7左右地震的可能性。
实际上,自2020年12月以来,日本石川县能登地区的地震活动便非常活跃,去年5月5日该地区曾发生过6级以上的强烈震动。
不仅当地居民对地震有恐慌,值得注意的是,此次地震正值日本核电工业的敏感时期,该行业自2011年“3·11”大地震后便遭到附近部分民众的强烈反对。就在上周,日本原子能规制委员会决定解除世界最大核电站柏崎刈羽核电站的运行禁令。早在2021年4月,因柏崎刈羽核电站接连暴露出在反恐和安全措施等方面的问题和漏洞,日本原子能规制委员会对该核电站发出了运行禁令。不过,由于柏崎刈羽核电站所在的新潟县部分民众强烈反对,该核电站何时能够重启,目前来看仍然是一个未知数。
文|记者 冷爽
图|福克斯新闻