地球进入震动模式了吗?
新年伊始,日本本州西岸近海发生7.6级地震,随后又发生数百次低级别地震。其实1日当天,我国四川绵阳也发生了地震,不过级别较低,为2.9级;2日,美国纽约罕见发生1.7级地震,很多居民听到爆炸声;4日,我国广西北海海域发生4.2级地震;秘鲁首都利马西部卡亚俄西南海域当地时间4日也发生4级地震;5日,我国新疆阿克苏地区库车市发生3.7级地震……
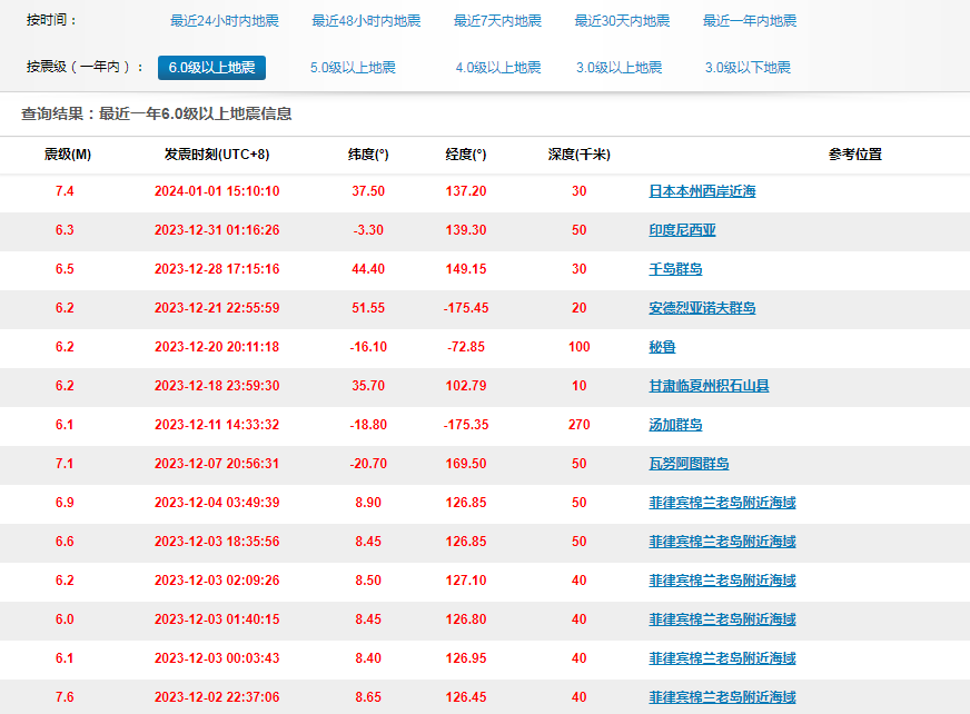
去年底,全球也地震频发。如果往前看一个月,全球共发生14次6级以上地震,去年全年发生6级地震约129次,不禁让人有些恐慌:地壳活动又进入活跃期了?

记者从中国地震台网查询到,2013年12月2日至2024年1月1日,全球记录到14次6级以上地震。值得注意的是,这些6级以上地震主要发生在太平洋板块和亚欧板块交界地带,其中菲律宾棉兰老岛附近海域在12月2日到4日,三天内发生6级以上地震6次,震级最高的是12月2日的7.6级地震。
从地质区域上来说,这些地方离我国距离都很近。而我国甘肃、新疆也分别在去年12月18日、19日接连发生6.2级和5.5级地震。新年的几天,广西、新疆也遭遇地震。

有媒体采访专家称,目前地壳活动的确处在相对活跃期,中、强震频度相对高些,主要表现为板块边界大震、强震活跃。据介绍,大、强震如印度洋板块与太平洋板块边界上的印尼强震等,而这两年我国发生的多次中强震则属于板内中强震。
不过,从数量上来看,也有专家称,全球每年平均发生18次7级以上地震、141次6级以上地震,2023年的地震频次整体与往年相比没有明显增幅。
从中国地震台网查询可以得知,2023年全球7级以上地震一共发生19次,也就是说地球地震活动仍属于正常范围。
文|记者 冷爽