近日,美腕旗下“所有爸妈的幸福家”直播间开播,知名网红主播李佳琦的妈妈李文利受邀参加直播。

据悉,李佳琦近日在直播中表示,“我妈现在当主播了,你们跟我妈说一下,让她就是严谨讲话,因为我妈比我还夸张……”他展示直播间画面并称他妈妈在卖黄金。
随后,助理旺旺询问李佳琦看到妈妈直播带货是什么心情,他表示,“有的时候感觉该享受的时候就躺下来享受,但她完全不是,她说我要拼,我正是拼的年纪。”

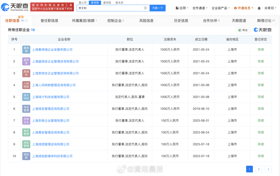
据潇湘晨报消息,记者查询天眼查商业履历信息发现,李文利名下关联16家企业,其中12家为存续状态,包括上海春琦瑞企业发展有限公司、上海盛琦圣企业管理咨询有限公司、上海贵琦忠企业管理咨询有限公司等,涉及企业管理、科技、新媒体等领域,李文利在上述企业中担任执行董事、法定代表人等职务。
值得注意的是,其中多家公司为李佳琦与母亲李文利共同关联公司,李佳琦持有多家公司99%的股份,李文利持有1%的股份并担任法定代表人、执行董事职务。


公开资料显示,李佳琦,1992年6月7日出生于湖南省岳阳市,电商主播,美妆博主,外号“口红一哥”,美腕(上海)网络科技有限公司合伙人。

2011年,李佳琦考入南昌大学舞蹈学专业,后因工作原因提前结业离校。2015年,李佳琦当上了一名欧莱雅BA。2016年,成为了一名淘宝主播。2018年9月,成为涂口红的世界纪录保持者。2019年,在淘宝直播盛典中获“2018年度TOP主播”。当年6月,作为特殊人才落户上海,12月正式增补为上海市青联委员。2021年5月,获得2020年度上海市青年五四奖章,并担任上海国际美妆节形象大使。12月,人民日报华南报业发展部携手李佳琦开设“消费助农专场”,助力乡村振兴。2022年,参加第二十四届冬季奥林匹克运动会开幕式。
2023年9月10日,李佳琦因带货眉笔怼网友一事引发争议,登上微博热搜。
2024年8月,李佳琦参演的综艺《披荆斩棘第四季》播出。10月21日,双11现货开卖,李佳琦直播间5分钟成交额破亿。